✕
8 800 775-77-55
О компании
Контакты
Оплата и доставка
Тендеры и гос. заказ
8 800 775-77-55
Заказать звонок
0
230s
Каталог запасных частей
Инструкция по эксплуатации
Техобслуживание
Сервис
Сайт JingGong
Трансмиссия
Напольный коврик
Кабина (1)
Конструкция тормозной системы
Гидролиния ковша и рукояти
Пилотная линия (8)
Пилотная линия (3)
Электрическая система - кабина
Электрическая система - проводка
Тавотницы
Педаль
Люк кабины
Демпферные уплотнения
Кабина (4)
Боковая дверь (2)
Пилотная линия (7)
Боковая дверь (1)
Выдвижное сиденье
Корпус отопителя
Кабина (2)
Рулевой мотор
Пилотная линия (5)
Топливная система
Электрическая система - консоль
Генератор
Боковая часть внешнего корпуса
Электрическая система - двигатель
Основание кабины
Трубопровод масляного радиатора
Дверная ручка в сборе
Кронштейн сиденья
Система охлаждения
Противовес
Ковш
Гидравлический бак
Топливный бак
Рама сидения
Радио
Пилотная линия (2)
Трубопровод масляного радиатора.
Пилотная линия (1)
Электрическая система - рабочее освещение
Защитные пластины корпуса
Кронштейны
Рукоять
Гидролиния стрелы
Амортизатор сиденья
Гидролиния – ковш
Радиатор
Электрическая система
Гидролиния – рулевой мотор
Основная рама
Кондиционер (1)
Дефлектор
Нижняя защитная пластина
Аккумулятор
Капот двигателя
Кондиционер (2)
Насос
Трубопровод масляного радиатора (2)
Стрела
Сиденье
Гидролиния - стрела
Панель управления (справа)
Гидролиния – главный насос
Радиатор в сборе
Пилотная линия (6)
Гидролиния
Панель управления (слева)
Глушитель
Нижняя рама в сборе
Воздушный фильтр
Пол кабины
Кабина (3)
Пилотная линия (9)
Пилотная линия (4)
Рулевое управление
Скачать каталог
JingGong 230s
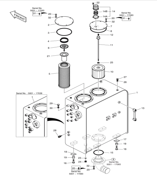
1. K1046831 Гидравлический бак
В корзину
-
+
1. 450105-00782 Гидравлический бак
В корзину
-
+
2. K1011675A Крышка
В корзину
-
+
3. S8011850 Уплотнительное кольцо
В корзину
-
+
4. 2129-1393 Пружина
В корзину
-
+
5. 474-00055 Возвратный фильтр
В корзину
-
+
5. 400504-00277 Возвратный фильтр
В корзину
-
+
6. 2426-1175 Перепускной клапан
В корзину
-
+
6. 410128-00031 Перепускной клапан
В корзину
-
+
7. 473-00052 Крышка
В корзину
-
+
8. S8011650 Уплотнительное кольцо
В корзину
-
+
9. K1000269A Твердая трубка
В корзину
-
+
10. 2474-9016A Всасывающий фильтр
В корзину
-
+
11. 136-00002 Шест
В корзину
-
+
12. 2129-1008 Пружина натяжения
В корзину
-
+
13. 119-00025B Датчик уровня масла
В корзину
-
+
14. K1012685A Воздушный патрубок
В корзину
-
+
14. 400811-00087 Воздушный патрубок
В корзину
-
+
14A. K9005662 Прокладка
В корзину
-
+
14B. K1029257 Фильтрующий элемент
В корзину
-
+
14B. 400504-00254 Фильтрующий элемент
В корзину
-
+
15. S8011200 Уплотнительное кольцо
В корзину
-
+
16. S0565466 Фланец
В корзину
-
+
17. 2114-1813 Прокладка
В корзину
-
+
18. 2114-1814 Прокладка
В корзину
-
+
19. 114-00425 Прокладка
В корзину
-
+
20. DS0025024 Болт
В корзину
-
+
20. S0512066 Болт
В корзину
-
+
21. 471-00127 Сетчатый фильтр
В корзину
-
+
21. 400411-00001A Сетчатый фильтр
В корзину
-
+
22. 2120-2166D41 Болт
В корзину
-
+
23. S8000181 Уплотнительное кольцо
В корзину
-
+
24. 2181-1950D7 Пробка
В корзину
-
+
25. S4012733 Гайка
В корзину
-
+
26. S8000111 Уплотнительное кольцо
В корзину
-
+
27. 2181-1890D2 Пробка
В корзину
-
+
28. K1003296 Датчик температуры масла
В корзину
-
+
29. S0514666 Болт
В корзину
-
+
30. S5102703 Пружинная прокладка
В корзину
-
+
31. K1007957 Болт
В корзину
-
+
32. 120804-00076 Прокладка
В корзину
-
+
✕
Заказать звонок
Заказать
✕
Заказать звонок
Спасибо, менеджер скоро перезвонит вам.