✕
8 800 775-77-55
О компании
Контакты
Оплата и доставка
Тендеры и гос. заказ
8 800 775-77-55
Заказать звонок
0
U35
Каталог запасных частей
Инструкция по эксплуатации
Техобслуживание
Сервис
Сайт Запасные части для миниэкскаваторов Yuchai
8.HYDRAULIC SYSTEM FOR PLATFORM 2
27. PANEL ASSEMBLY 3
19.HYDRAULIC SYSTEM FOR PILOT PART 4
11.HYDRAULIC SYSTEM FOR PLATFORM 5
37. ELECTRICAL ASSEMBLY FOR PLATFORM
12.HYDRAULIC SYSTEM FOR PLATFORM 6
40. BATTERY ASSEMBLY
30. AIR INLET SYSTEM
44. CAB
9.HYDRAULIC SYSTEM FOR PLATFORM 3
17.HYDRAULIC SYSTEM FOR PILOT PART 2
20.HYDRAULIC SYSTEM FOR PILOT PART 5
46. INNER PLATE SUBASSEMBLY
28. SLEWING SUPPORT
53. FUEL SYSTEM
16.HYDRAULIC SYSTEM FOR PILOT PART 1
5.ARM
47. CAB
32. FUEL SYSTEM
43. ELECTRICAL ASSEMBLY FOR BOOM LAMP
24.AIR-CONDITION SYSTEM
33. POWER OUTPUT SYSTEM
25. PANEL ASSEMBLY 1
7.HYDRAULIC SYSTEM FOR PLATFORM 1
13.HYDRAULIC SYSTEM FOR PLATFORM 7
38. ELECTRIC ASSMBLY
14.TRAVEL EQUIPMENT HYDRAULIC SYSTEM 1
42. ELECTRICAL ASSEMBLY OF CONTROL BOX
57. AIR INLET SYSTEM
29. COOLING SYSTEM
49. ELECTRICAL ASSEMBLY FOR CAB
34. SUSPENSION SYSTEM
56. COOLING SYSTEM
51. ELECTRICAL ASSEMBLY FOR BOOM LAMP
3.DOZER EQUIPMENT
26. PANEL ASSEMBLY 2
35. ENGINE SPARE PART
18.HYDRAULIC SYSTEM FOR PILOT PART 3
2.SLEWING PLATFROM
1.CHASSIS ASSEMBLY
58. ENGINE SPARE PART
39. ELECTRICAL ASSEMBLY FOR ENGINE
22. HYDRAULIC SYSTEM FOR ATTACHMENT EQUIPMENT
10.HYDRAULIC SYSTEM FOR PLATFORM 4
55. ENGINE SPARE PART
21.HYDRAULIC SYSTEM FOR WORKING EQUIPMENT
36. AIR-CONDITIONED COMPRESSOR SYSTEM
15.TRAVEL EQUIPMENT HYDRAULIC SYSTEM 2
23. OPERATING MECHANISM
6.BUCKET
50. ELECTRICAL ASSEMBLY OF CONTROL BOX
48. ELECTRICAL ASSEMBLY FOR ENGINE
54. SUSPENSION SYSTEM
52. TROTTLE CONTROL SYSTEM
45. CAB DOOR
31. EXHAUST SYSTEM
4.BOOM
41. ELECTRICAL ASSEMBLY FOR CAB
Запасные части для миниэкскаваторов Yuchai U35
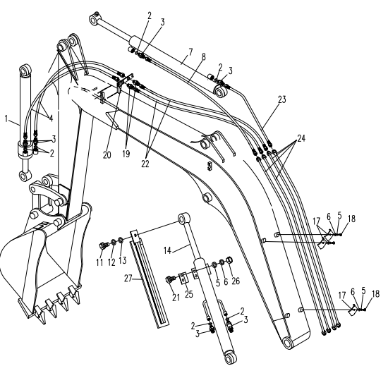
1. E35B1-9501000A Bucket cylinder
В корзину
-
+
2. 0604-001780240-30 O-Ring
В корзину
-
+
3. 850-0500005 Bolt joint
В корзину
-
+
4. E35B1-9500700 Rubber pipe assembly
В корзину
-
+
5. 0401-008-05 Spring washer
В корзину
-
+
6. 0404-008-05 Washer
В корзину
-
+
7. E35B1-9502000A Arm cylinder assembly
В корзину
-
+
8. E35B1-9500400 Rubber pipe assembly
В корзину
-
+
9. 853D-1285003 Pipe clamp
В корзину
-
+
10. 0206-000800016-65 Bolt
В корзину
-
+
11. 0206-001000030-65 Bolt
В корзину
-
+
12. 0401-010-05 Spring washer
В корзину
-
+
13. 0404-010-05 Washer
В корзину
-
+
14. E35B1-9503000A Boom cylinder assembly
В корзину
-
+
15. 801-0400001 Grease Cup cover
В корзину
-
+
16. 0701-081-03 Grease Cup
В корзину
-
+
17. 839A-9500001A Pipe clamp
В корзину
-
+
18. 0206-000800030-65 Bolt
В корзину
-
+
19. 819-0513000 Bolt joint
В корзину
-
+
20. E35B1-9500001 bracket
В корзину
-
+
21. 0206-000800025-65 Bolt
В корзину
-
+
22. 818B-9528000 Rubber pipe assembly
В корзину
-
+
23. E35B1-9500500 Rubber pipe assembly
В корзину
-
+
24. E35B1-9500600 Steel pipe assembly
В корзину
-
+
25. E35B1-9500002 Pilot plate
В корзину
-
+
26. 0306-080-45 nut
В корзину
-
+
27. 820-9509100 Prorective plate
В корзину
-
+
✕
Заказать звонок
Заказать
✕
Заказать звонок
Спасибо, менеджер скоро перезвонит вам.